8 (0162) 533 566

с 9:00 до 17:30 (опт)
с 9:00 до 17:00 (розница)

8 (0162) 533 566

8 (033) 691 91 77
8 (029) 798 35 44

Наш адрес: 224024, г. Брест
ул. Красногвардейская, 108Б Схема проезда

Лучшие цены в Бресте!
Официальные сертификаты на всю продукцию!
Работаем оптом и в розницу!
Свой аппарат для колеровки краски !

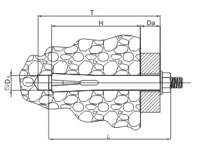
Анкерный болт с гайкой

Анкерный болт с гайкой
Анкерный болт с гайкой
Предназначен для надежного монтажа тяжелых элементов (металлоконструкций, кронштейнов, ограждений, консолей, профилей и др.) к твердому основанию, способному выдержать вес значительной конструкции, такому, как бетон, камень, полнотелый кирпич. 

Анкерный болт состоит из резьбовой шпильки с приваренной к ней втулкой, внешней оболочки - металлической расклинивающей основой, и гайки с фланцем (гайки с запрессованной шайбой).

Технические характеристики

Обозначение (Do x T)H, ммL, ммDa, ммМин. вырывающая сила kHДопустимый изгибающий момент, НмМакс. Крутящий момент,Нм
8х40 35 45 5 10,5 5,2 10
8х65 35 70 30 10,5 5,2 10
8х85 35 90 50 10,5 5,2 10
8х100 35 105 55 10,5 5,2 10
8х120 35 125 60 10,5 5,2 10
10х40 40 45 10 13,1 12,9 25
10х50 40 55 10 13,1 12,9 25
10х60 40 65 20 13,1 12,9 25
10х77 40 82 35 13,1 12,9 25
10х97 40 102 55 13,1 12,9 25
10х125 40 130 85 13,1 12,9 25
10х130 40 135 90 13,1 12,9 25
10х150 40 155 110 13,1 12,9 25
10х180 40 185 140 13,1 12,9 25
12х60 50 65 25 18,3 25,7 40
12х75 50 80 25 18,3 25,7 40
12х99 50 104 50 18,3 25,7 40
12х129 50 134 80 18,3 25,7 40
12х150 50 155 100 18,3 25,7 40
12х180 50 185 130 18,3 25,7 40
12х200 50 205 150 18,3 25,7 40
12х220 50 225 170 18,3 25,7 40
12х250 50 255 200 18,3 25,7 40
12х280 50 285 230 18,3 25,7 40
12х300 50 305 250 18,3 25,7 40
16х65 60 70 5 22,8 32,1 50
16х111 60 116 50 22,8 32,1 50
16х147 60 152 90 22,8 32,1 50
16х180 60 185 120 22,8 32,1 50
16х220 60 225 160 22,8 32,1 50
16х250 60 255 190 22,8 32,1 50
20х75 60 80 15 27,4 38,5 60
20х107 60 112 47 27,4 38,5 60
20х110 60 115 50 27,4 38,5 60
20х150 60 156 90 27,4 38,5 60
20х200 60 205 140 27,4 38,5 60
20х250 60 255 180 27,4 38,5 60
20х300 60 305 240 27,4 38,5 60